A Microsoft está trabalhando em um protótipo de uma mochila inteligente com o uso de inteligência artificial desde o início do ano.
Segundo a big tech, as novas mochilas smart podem incluir sensores, como microfone, alto-falantes e uma câmera para detectar o ambiente, além de poder receber um comando de voz contextual de um usuário detectando um objeto. Também terá espaço de armazenamento e conexão com a internet. A companhia também afirmou que o equipamento poderá acessar conteúdos salvos na nuvem, além de realizar tarefas como adicionar lembretes no calendário ou verificar preços de itens ao seu redor.
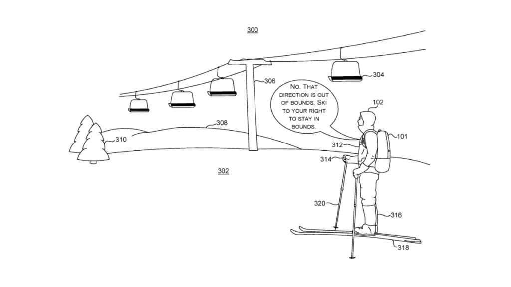
O objetivo principal é que o novo produto seja como uma “assistente virtual vestível” capaz de compreender e identificar diversos contextos. Se a pessoa estiver com a mochila em um mercado, poderá usá-la para checar os valores dos mesmos produtos em outras lojas próximas. Ainda segundo a Microsoft, a mochila também estará apta para concluir tarefas mais complexas, como obter as direções mais seguras quando os seus usuários estiverem esquiando, por exemplo.

Confira aqui o Mídia Kit do Startupi!
Como a mochila da Microsoft irá funcionar
Assim que a mochila recebe um comando, ela automaticamente utiliza os seus diversos sensores para reunir informações e identificar o ambiente e os contextos nos quais está inserida. A inteligência artificial retorna a solicitação com uma resposta — que pode ser direta ao comando que foi enviado ou uma mensagem para reunir mais informações antes de concluir a ação. Não há informações sobre o início da fabricação da mochila.
Acesse aqui e saiba como você e o Startupi podem se tornar parceiros para impulsionar seus esforços de comunicação. Startupi – Jornalismo para quem lidera a inovação.



